| 流量范圍 [m3/h] |
Q=1~240m3/h |
| 揚程 [m] | H=6~400m |
| 電機功率 [kW] | N=0.37kW~110kW |
| 水泵效率 [%] | η=32%~75% |
| 液體溫度 [℃] | -15℃~+120℃ |
| 進出口聯接圓法蘭規格 | DN25~DN150 |
| 說明 |
QDL2 |
QDL4 | QDL8 | QDL12 | QDL16 | QDL20 | QDL30 | QDL42 | QDL60 | QDL90 | QDL120 | QDL150 | QDL200 |
| 頻率 | 50HZ | ||||||||||||
|
額定流量[m3/h] |
2 | 4 | 8 | 12 | 16 | 20 | 30 | 42 | 60 | 90 | 120 | 150 | 200 |
| 流量范圍 [m3/h] | 1~3.6 |
1.8~7 |
5~11 |
8~16 |
8~22 |
12~28 |
22~40 |
30~54 |
45~75 |
72~108 |
60~150 |
80~180 |
100~240 |
| 最大壓力[bar] | 21 | 21 | 24 | 23 | 24 | 25 | 26 | 26 | 24 | 18 | 18 | 18 | 18 |
| 電機功率[kW] | 0.37~4 | 0.37~4 | 0.75~7.5 | 0.75~11 | 1.1~15 | 1.1~18.5 | 2.2~30 | 3~37 | 4~45 | 11~55 | 11~75 | 11~75 | 18.5~110 |
| 溫度范圍[℃] | -15℃~+120℃ | ||||||||||||
| 類型 | |||||||||||||
|
QDL |
● | ● | ● | ● | ● | ● | ● | ● | ● | ● | ● | ● | ● |
| QDLF | ● | ● | ● | ● | ● | ● | ● | ● | ● | ● | ● | ● | ● |
| 進出口口徑: | DN25 | DN32 | DN40 | DN50 | DN50 | DN50 | DN65 | DN80 | DN100 | DN100 | DN125 | DN125 | DN150 |



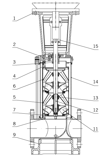
| 序號 | 名稱 | 材料 |
| 1 | 支架 | 鑄鐵 |
| 3 | 機械密封 | |
| 4 | 出水體 | 不銹鋼 |
| 5 | 支撐導葉 | 不銹鋼 |
| 6 | 導葉 | 不銹鋼 |
| 7 | 導流器 | 不銹鋼 |
| 9 | 底座 | 鑄鐵 |
| 11 | 葉輪 | 不銹鋼 |
| 12 | 軸 | 不銹鋼 |
| 13 | 軸套 | 碳化鎢 |
| 14 | 耐壓筒 | 不銹鋼 |
| 15 | 聯軸器 | 碳鋼 |
| 橡膠零件 | NBR | |
| QDLF | ||
| 2 | 泵頭 | 鑄鐵 |
| 8 | 進出水段 | 鑄鐵 |
| QDL | ||
| 2 | 泵頭 | 不銹鋼 |
| 8 | 進出水段 | 不銹鋼 |
性能曲線

性能表
| 型號 |
配用電機 (kw) |
流量 Q(m3/h) |
100 | 120 | 140 | 160 | 180 | 200 | 220 | 240 |
| QDL200-10-B | 18.5 |
揚程 H(m) |
25.5 | 25 | 24 | 23 | 21.5 | 20 | 18 | 15.5 |
| QDL200-10-A | 22 | 29 | 29 | 28 | 26.5 | 25.5 | 24 | 22 | 20 | |
| QDL200-10 | 30 | 38.5 | 38 | 38 | 36.5 | 35 | 34 | 32.5 | 30 | |
| QDL200-20-2B | 37 | 53 | 51 | 49 | 47 | 44 | 41 | 37 | 32 | |
| QDL200-20-2A | 45 | 59.5 | 58 | 56 | 54 | 52.5 | 49 | 44.5 | 40.5 | |
| QDL200-20-A | 55 | 69 | 68 | 66 | 64 | 62 | 59 | 55.5 | 51 | |
| QDL200-20 | 55 | 78.5 | 78 | 76 | 74 | 71.5 | 69 | 66 | 61.5 | |
| QDL200-30-2B | 75 | 91.5 | 89 | 87 | 83.5 | 79 | 75 | 70 | 63 | |
| QDL200-30-A-B | 75 | 95 | 93 | 90 | 87 | 83.5 | 79 | 73.5 | 67 | |
| QDL200-30-2A | 75 | 99.5 | 98 | 95 | 91.5 | 89 | 84 | 78.5 | 72 | |
| QDL200-30-B | 75 | 105 | 103 | 100 | 97 | 93 | 89 | 84.5 | 77.5 | |
| QDL200-30-A | 75 | 108 | 106 | 104 | 101 | 97.5 | 93 | 88 | 81.5 | |
| QDL200-30 | 90 | 118 | 116 | 114 | 111 | 107 | 103 | 99 | 92 | |
| QDL200-40-2B | 90 | 132 | 129 | 126 | 121 | 115.5 | 110 | 103.5 | 94 | |
| QDL200-40-2A | 110 | 139 | 136 | 132 | 128 | 124 | 118 | 111 | 102.5 | |
| QDL200-40-A | 110 | 148 | 146 | 143 | 138 | 134 | 128 | 122 | 113 | |
| QDL200-40 | 110 | 158 | 156 | 153 | 148 | 143.5 | 138 | 132.5 | 123.5 |
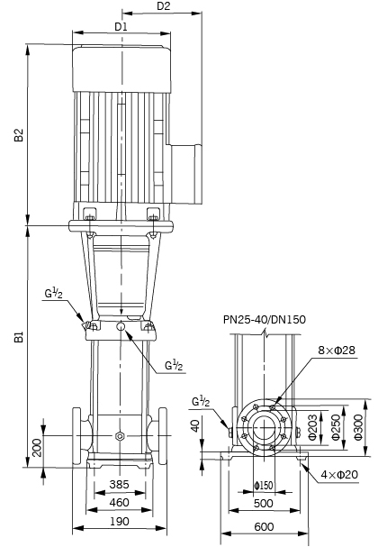
安裝圖

尺寸和重量
| 型號 | 尺寸(mm) |
重量 (kg) |
||||
| B1 | B2 | B1+B2 | P/AC | AD | ||
| QDL200-10-B | 907 | 550 | 1457 | 330 | 255 | 311 |
| QDL200-10-A | 907 | 575 | 1482 | 360 | 285 | 347 |
| QDL200-10 | 907 | 650 | 1557 | 400 | 310 | 403 |
| QDL200-20-2B | 1101 | 650 | 1751 | 400 | 310 | 447 |
| QDL200-20-2A | 1101 | 685 | 1786 | 460 | 340 | 504 |
| QDL200-20-A | 1131 | 760 | 1891 | 540 | 370 | 595 |
| QDL200-20 | 1131 | 760 | 1891 | 540 | 370 | 595 |
| QDL200-30-2B | 1325 | 845 | 2170 | 580 | 410 | 748 |
| QDL200-30-A-B | 1325 | 845 | 2170 | 580 | 410 | 748 |
| QDL200-30-2A | 1325 | 845 | 2170 | 580 | 410 | 748 |
| QDL200-30-B | 1325 | 845 | 2170 | 580 | 410 | 748 |
| QDL200-30-A | 1325 | 845 | 2170 | 580 | 410 | 748 |
| QDL200-30 | 1325 | 895 | 2220 | 580 | 410 | 817 |
| QDL200-40-2B | 1519 | 895 | 2414 | 580 | 410 | 830 |
| QDL200-40-2A | 1519 | 1140 | 2659 | 645 | 550 | 1180 |
| QDL200-40-A | 1519 | 1140 | 2659 | 645 | 550 | 1180 |
| QDL200-40 | 1519 | 1140 | 2659 | 645 | 550 | 1180 |